Bazénové schůdky 4 stupně MIXTA Into Concrete Salt AISI 316

Bazénové schůdky 4 stupně MIXTA Into Concrete Salt AISI 316 jsou vhodné pro zapuštěné foliové či betonové domácí bazény. Robustní kotvící plastové patky těchto schůdků se ukládají napevno přímo do vlhkého betonového lože. Vlastní bazénové schůdky lze tak v případě potřeby kdykoliv vyjmout, protože upevnění jejich madel do kotvících patek je realizováno pomocí pohyblivých aretačních šroubů.
Bazénové schůdky 4 stupně MIXTA Into Concrete Salt AISI 316 jsou osazeny v rovnoměrných rozestupech čtyřmi nerezovými schodnicemi s protiskluzovou úpravou, zdobenými uprostřed stylizovaným vyobrazením mořské panny.
Bazénové schůdky 4 stupně MIXTA Into Concrete Salt AISI 316 jsou vyrobeny, jak název naznačuje, z masivní nerezové oceli třídy AISI 316 a je možné je použít v bazénech, jejichž bazénová voda je udržována na principu elektrolýzy slaného roztoku. V případě úpravy bazénové vody klasickými přípravky bazénové chemie na bázi aktivního chloru či kyslíku volte Bazénové schůdky 4 stupně MIXTA Into Concrete AISI 304.
Nosnost schůdků: 130 kg
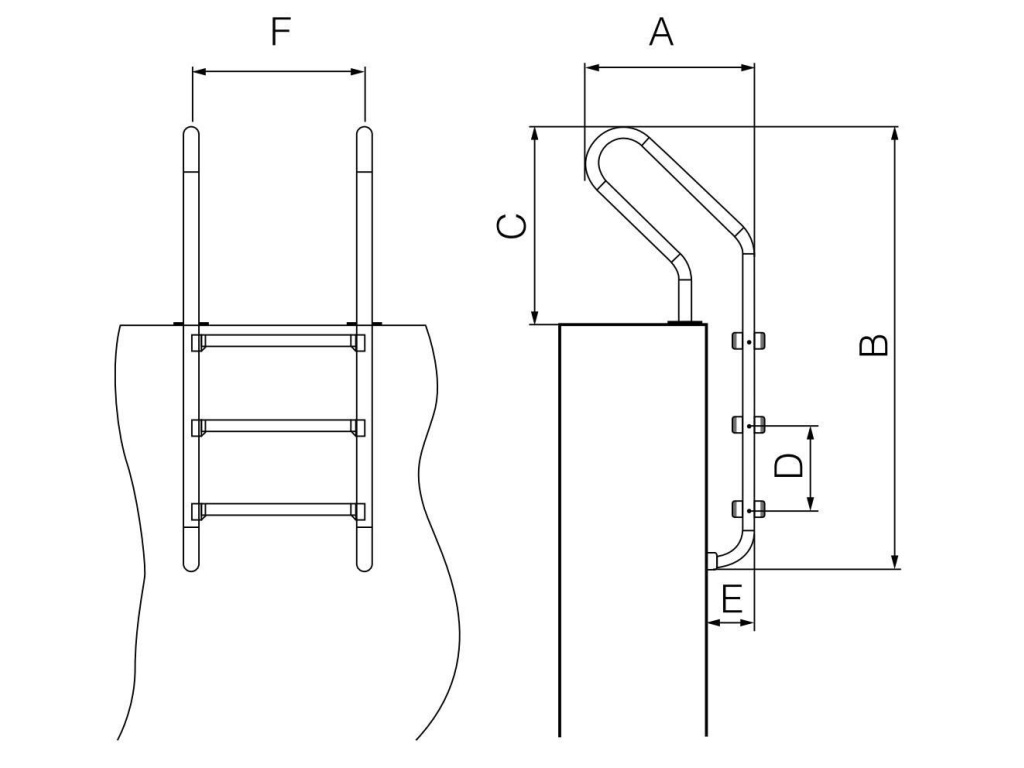
Bazénové schůdky 4 stupně MIXTA Into Concrete Salt AISI 316 – rozměry dle nákresu:
A 650 mm
B 1830 mm
C 640 mm
D 250 mm
E 180 mm
F 502 mm
G 200 mm (na obrázku není znázorněno, jedná se o vzdálenost spodní schodnice od spodního konce schůdků)
Bazénové schůdky 4 stupně MIXTA Into Concrete Salt AISI 316 – obsah balení:
2 kusy bočních madel bazénových schůdků
2 kusy ochraných zátek na spodní část madel
4 schodnice s reliefní protikluznou úpravou
2 kusy plastových kotvících botek s aretačními šrouby a matkami pro umístění do vlhkého betonu
2 kusy kruhových nerezových krytů kotvení madel
8 kusů nerezových šroubů s matkami pro upevnění schodnic k madlům bazénových schůdků
Rozměry balení pro přepravu: 1930 mm x 710 mm x 60 mm
Upozornění: Výrobek je určen pro profesionální instalaci.
Doplňkové parametry
| Kategorie: | Schody a schůdky do bazénu |
|---|---|
| Záruka: | 2 roky |
| Hmotnost: | 14 kg |
| EAN: | 8595697013935 |
| Hmotnost: | 18 kg |
| Skupina: | MPCS |
| Rozměr: | 140×60×7 cm |
| Délka: | 140 cm |
Buďte první, kdo napíše příspěvek k této položce.
Buďte první, kdo napíše příspěvek k této položce.
Pouze registrovaní uživatelé mohou vkládat příspěvky. Prosím přihlaste se nebo se registrujte.
PWS (Professional Water System) je značka bazénové chemie, která na našem trhu působí již od roku 2012. Ve svém portfoliu nabízí veškeré přípravky, které potřebujete k provozování bazénů a úpravě bazénové vody. Na českém trhu s bazénovou chemií neexituje momentálně jiná značka se širším spektrem produktů.
Nejvyšší prioritou značky PWS je dlouhodobé udržení maximální možné kvality veškerých nabízených produktů s přihlédnutím k optimalizaci ekonomické stránky jejich výroby a distribuce. Pod značkou PWS naleznete pouze a výhradně důkladně otestované a prověřené přípravky bazénové chemie a další související produkty. Surovinovou základnu pro jejich výrobu tvoří prověřené zdroje a dodavatelé ze zemí Evropské unie nebo USA. Široké portfolio produktů značky PWS se tak výrazně odlišuje od tradičního dovozu a prodeje nízkonákladového zboží a produktů východoasijské provenience. Značka PWS svým zákazníkům spolehlivě deklaruje léty ověřenou kvalitu a spolehlivost svých produktů.
